当前位置:首页 » 产品中心 » 婴儿车/运动器材类试验机
【概要描述】满足标准:GB/T 20096 EN14619
推荐产品
附着力试验机点击详情
涂布性检测仪点击详情
圆规开合疲劳试验机点击详情
满足标准:
1.适用标准:满足GB/T 20096-2006《轮滑鞋》中5.15条款要求2.主要用途:轮滑鞋垂直冲击试验。
1.落锤质量和冲击高度见下表(冲击速度)
双排A类
双排B类
单排A类
单排B类
落锤重量
kg
15
10
冲击能量
J
50
30
落锤形状和尺寸
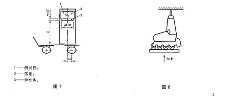
详见GB/T 20096-2006标准中图7
冲击高度
m
250
150
冲击速度
m/s
2.5±0.3
2.0±0.2
提供的冲击形式
详见GB/T 20096-2006标准中图8
1.仪器中文操作说明书一份
2.仪器保修卡一份
3.国际第三方CNAS试验室仪校报告一份
产品分类
鞋业检测仪器
皮革类试验机
橡胶/轮胎试验机
箱包/手提袋类试验机
拉力机|拉力试验机
文具/笔类试验机
办公家具类试验机
婴儿车/运动器材类试验机
电子/塑胶/五金试验机
胶粘带/包装/纸业类试验机
非标类试验机
试验耗材/仪表
查看全部产品
联系方式
400-8300-665